Этот миниатюрный FM приемник собран всего на трех микросхемах в миниатюрных SMD корпусах. Такой приемник можно собрать в маленьком корпусе, напечатанном на 3D принтере или даже встроить в головные телефоны (наушники)

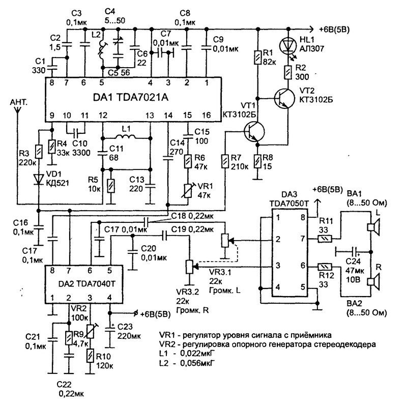
Принципиальная схема приемника
Собственно приемник собран на интегральной микросхеме TDA7021 (даташит) производства PHILIPS — NXP Semiconductors. Микросхема представляет собой интегральный радиоприемник для портативных применений.
Приобрести такую микросхему можно в Китае по цене примерно 30 рублей за штуку

Вторая микросхема — это TDA7040 (даташит) производства PHILIPS — NXP Semiconductors. Микросхема разработана для применения в FM приемниках и представляет собой интегральный стереодекодер. Микросхема содержит следующие узлы:
- Встроенный фильтр, обрезающий частоты выше 70 килогерц.
- полностью интегральный генератор на частоту 228 килогерц.
- Детектор пилот — тона.
- Встроенный узел подавления интерференции
- регулируемое усиление
Приобрести такую микросхему можно в Китае по цене примерно 25 рублей за штуку

Третья микросхема — это TDA7050 (даташит) производства PHILIPS — NXP Semiconductors. Микросхема представляет собой миниатюрный низковольтный стереофонический усилитель низкой частоты. Минимальное напряжение питание усилителя всего 1.6 вольта.
Приобрести такую микросхему можно в Китае по цене примерно 15..17 рублей за штуку

