VOX Compressor Driving Box 1903


VOX Compressor Driving Box 1903

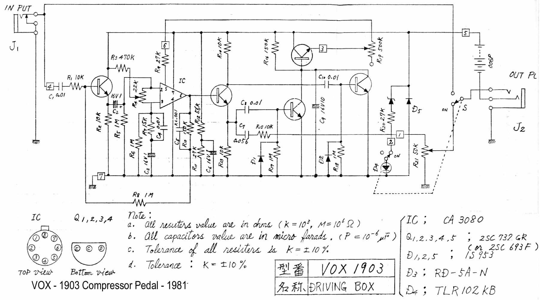
Этот компрессор от производителя VOX собран на специализированной микросхеме — усилителе, управляемом напряжением (VCA) типа CA3080. Модель 1981 года.

VOX Compressor Driving Box 1903

Добавить комментарий